1.前言
嵌入式DVR从2006年开始快速发展,目前高端DVR的回放达到D1格式已经实现,但是在预览输出方面,大部分还只能支持到标清或者通过VGA接口实现720P的显示。随着高清显示器价格的下降和普及,监控系统已经开始进入显示的高清时代,预览和回放的显示效果成为下一代DVR的一个关键指标。为了提升安防产品的显示效果,达到专业级视频播放器的显示水平,高清解码器逐步被应用到一些高端DVR方案中,通过使用其专业级的解码,后处理功能和显示能力,使得DVR的显示效果达到了专业级高清播放器的效果。
富瀚为适应DVR的高清化趋势,在2009年推出了FH8735多通道H.264编码芯片;同时在新一代的DVR产品方案中,引进和使用Sigmadesign公司的最新专业级高清播放器芯片SMP8655,SMP8655是SigmaDesign公司最新的高清解码芯片,具有强大的视频解码,显示处理功能,并具有丰富的接口。此方案很好地满足了DVR发展趋势。
2.FH8735的介绍
FH8735是一款高性能的音视频编码芯片,支持H.264Mainprofile和Baselineprofile视频压缩格式,可以进行八路标清或者2路720p高清的实时编码和多路音频编码。在编码的同时,完成音视频同步,输出ES/PES/PS/TS。除了高性能的视频编码能力,FH8735提供了丰富的视频预处理功能,如de/interlace,de/noise,OSD叠加,缩放,移动侦测等。FH8735的视频输入接口可以同时接收8路标准BT.656。也可以根据需要把视频输入接口配置为一路高清视频输入接口。FH8735可以接收来自CMOS/CCDModule,视频解码器,LVDS接收器以及HDMI接收器等输出的数字视频。除此之外,FH8735可以直接接收TW2815/TW2816输出的timemultiplexerQuad/CIF视频。FH8735可以同时接收八路立体声音频输入。亦可以根据应用的需要配置为16路单声道的音频输入。

为了配置外接的视频和音频接收芯片,FH8735提供两路完全独立的标准I2C接口,以应对可能出现的外部设备I2C地址的冲突。FH8735的典型应用包括视频会议系统,安防监控等需要高分辨率或者多路视频编码的领域。
FH8735的主要技术特点如下:
多通道视音频编码:支持H.264MainProfile和BaselineProfile,支持帧编码和场编码;支持I,P,B帧;支持CAVLC和CABAC编码能力支持到D1@240fps或720p@60fps编码,并支持双码流编码;支持CBR,VBR和ABR等码率控制方式。
视频输入接口:FH8735具有8个BT.656数据输入通道,每个通道均支持54MHz的增强模式,最多可以输入16路BT.656视频数据。也可以根据需要把视频输入接口配置为2通道HD视频输入接口(最高2048×1024)
视频处理器和OSD:FH8735的视频前处理功能包括去隔行处理,去噪,移动侦测,遮挡侦测,区域屏蔽,水印叠加,编码和预览视频具有独立的scaler,文本和图像OSD
音频输入接口(I2S):支持8路立体声音频输入或16路单声道输入
主机接口:32-bitPCI,兼容PCI2.2规范,33MHz
外部储存器接口:支持2组DDRSDRAM,32-bit@400MHz
其他接口:I2C,UART,SPI,GPIO等
3.SMP8655介绍
SMP8655是一个高度集成的媒体处理器,通过大幅提升CPU速度,内存带宽和架构效率,SMP8655的性能比同类型芯片提升到一个更高的层次。SMP8655是一个多核多媒体芯片,具有500MHzMIPS24k主处理器,该主处理器可以实现简明的用户交互和大量基于应用的功能,这些功能使得SMP8655可以满足面向未来的各种应用。SMP8655还有另外称为IPU的MIPS处理器,该处理器管理中断操作和分担难以承担的系统任务,例如网络协议栈的拆分,来进一步优化主处理器的利用率。SMP8655的第三个MPIS管理所有系统安全功能,包括解密和密钥生成。该SMP8655还具有一个新的DDR/2内存控制器,支持双倍数据速率高达666Mbps的存储器,而专门改进的仲裁引擎,也最大限度地提高了存储器的访问效率。
SMP8655主要功能特点如下:
多格式视频解码。支持MPEG-4.10(H.264)BP@L3,MP@L4.0andHP@L4.0;SMPTE421M(VC-1)MP@HLandAP@L3;WMV9MP@HL;MPEG-2MP@HL;MPEG-4.2ASP@L5和AVSJizhunprofile@L2.0,4.0and6.0的解码;先进的视频处理功能。支持:32-bitOSD,2D图形加速,运动自适应的去隔行,Deblocking和deringing滤波,同时高清和标清输出,颜色色温和Gamma控制;视频输出接口。包括HDMI,YPbPr分量和RGB模拟输出。对于模拟输出,内置的12-bit视频DAC可以产生高质量的视频信号。输出分辨率支持到1920x1080i30或1920x1080p60。丰富的外设接口。支持两个SATA接口,两个USB2.0接口,SDIO接口和两个100M以太网接口;
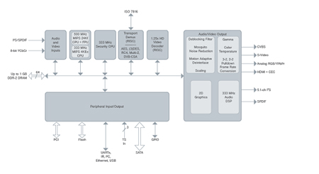
SMP8655系统框图如下:

4.方案功能介绍
该方案实现的主要功能包括:
视频和音频输入:16路视频和音频输入
编码:16D1H.264实时编码
解码和回放:同时支持8D1H.264解码回放;支持多格式的高清解码(H.264,MPEG4,AVS,AVI等)
视频前处理:支持De/interlace,De/noise,OSD,移动侦测,遮挡检测,区域屏蔽
视频后处理:2Dgraphicsaccelerator,OSD,De/interlace,mixing,arbitrayscaling
视频输出:1080P60视频输出(HDMI,YPbPr,RGB)
外设:USB2.0,Ethernet,SDIO,SATA,PCI
该方案相比目前市场上的16路DVR方案,主要特点有:
1.功能丰富。
FH8735集成了编码和视频监控所需要的视频处理功能,SMP8655实现了多路回放,显示和丰富的外设接口。
2.方案开发难度低。
该方案架构实现简单。主芯片包括两片FH8735做H.264编码和一片SMP8655完成系统应用程序和解码。
5.系统架构
该系统主要由FH8735和SMP8655构成,FH8735和SMP8655之间通过PCI总线进行数据,状态和命令的交互。在功能分工方面,FH8735完成视频的输入,针对安防应用的前处理(运动检测,区域屏蔽等),H.264编码和预览显示数据的输出。
SMP8655作为主控CPU,主要完成8路标清视频的解码,视音频的预览,视频输出,音频输出等媒体流处理功能;SMP8655的MIPS32内核作为通用处理器主要完成系统的引导,图形化的用户接口、用户操作管理、文件系统、文件存储管理、视音频参数设置、系统参数设置、用户权限管理、日志管理、云镜控制、报警输入输出控制、网络协议栈、网络管理等应用层功能。FH8735和SMP8655之间通过共享内存,以及硬件信号量进行通讯。
SMP8655内置两个SATA接口,更多的SATA接口可以通过33MHz的PCI总线进行扩展。
方案系统示意图如下:

6.软件架构
FH8735软件架构
Firmware:运行于FH8735内部的CPU之上,完成FH8735硬件模块的配置和控制,主机命令的接收和处理;当前状态的报告;码流和预览数据的传输等。
PCI驱动:提供SMP8655和FH8735之间的数据,命令和控制的传输通道。
SDK:SDK提供了FH35视频编码芯片的所有控制接口,应用程序(APP)可通过调用此SDK来实现多路视音频信号的实时编码和录像、水印、中文OSD叠加、时间戳叠加、Logo叠加、Mosaic遮蔽、单帧捕获、强制关键帧输出、动态改变压缩帧率参数、动态调节视频参数、动态改变帧结构、动态检测、双码流等功能
SMP8655软件架构
SMP8655运行在Linux平台,实现嵌入DVR上各种外设的设备驱动,利用FrameBuffer作为显示控制,然后在此基础上实现嵌入DVR的应用程序。
Linux驱动:Linux的设备驱动程序在Linux系统中以内核模块的形式出现,在系统需要时加载和调用;直接控制硬件平台,向内核提供标准的接口函数,为应用程序提供统一的硬件抽象层。
应用程序:主要由显示控制、系统管理、存储管理、输入输出控制、网络控制等五个子系统组成。显示控制负责视频信息的输出,包括:菜单显示、预览显示、回放显示等模块。显示控制是系统的主要功能模块,富瀚提供API实现这些功能。包括:预览功能。完成通过PCI通道获取YUV预览数据,预览数据的显示和多画面合成拼接。
多路解码和显示;GUI实现。实现标准Framebuffer的驱动。统管理负责整个系统的管理控制,包括:录像控制、参数设置、视频遮盖、报警设置、移动侦测、用户管理、网络设置等模块。富瀚提供PCI驱动程序和API,实现对FH8735的参数配置。预览参数设置,编码参数设置,码流获取;录像控制、参数设置、视频遮盖、报警设置、移动侦测;
存储管理模块实现各种数据的存储、查询功能,包括:磁盘管理、文件存储、日志管理、参数存储、检索备份等模块。输入输出控制负责响应外部输入设备(按键、485键盘、遥控器、鼠标、报警输入)的控制命令,同时控制外部输出设备(报警输出、云台),包括:按键面板、遥控器、485键盘、云台控制、鼠标接口等模块。网络控制为客户端和集中监控软件提供接口,使得可以通过网络对DVR主机进行远程操作。
7.结束语
FH8735是一个高性能的H.264编码芯片,并且集成了丰富的视频处理功能;而SMP8655是一个集成度很高的高清媒体处理器,硬件上提供高性能的处理器内核和解码内核,软件基于嵌入Linux操作系统,富瀚基于SMP865和FH8735的平台完成了针对嵌入式DVR应用的SDK。强大的处理能力加针对DVR应用的SDK,使得在此平台上可以快速地开发出DVR和NVR产品。同时,由于集成度高,外围芯片少,系统稳定性将大大增强。方案的推出必将推动全D1嵌入式DVR的进一步普及。

该文观点仅代表作者,本站仅提供信息存储空间服务,转载请注明出处。若需了解详细的安防行业方案,或有其它建议反馈,欢迎联系我们。
