烟雾发生器已经在行业出现三年,两年间不同领域的用户在渐渐熟悉和接受该产品,它对于当下的安防行业具有里程碑的意义,能改变安防以往被动防守的局面,是安防系统具有事中干预能力、主动出击才是最好的防守。
为此,富尼泰克潜心多年终于在2015年成功开发出烟雾发生器产品,在多项性能测试中我们通过了国家多个权威检测部门的高度认可;此外,我们的烟雾发生器在中国公共安全智慧传输产业联盟体验室中也能对接各门类的安防子系统,扩大了该产品的应用空间。
而对于一些工程商或者甲方,在安装烟雾发生器时遇到了一些些小小的阻碍,我们在此简要介绍如何安装。
在收到产品之前,我们的烟雾发生器在储藏运输环节中,千万不要将烟雾器的控制系统两端开启,要保持连接闭合的状态,同样禁止擅自接入电源和其他控制器,否则容易造成烟雾发生器的非正常启动。
拿到产品时,请确认产品是否有损坏和检查标签序列号与工作电压,以免购买的是假冒伪劣产品。安装时需要16A的小型电源配电箱、导线不小于2.5平方毫米的电源拖线盘、电锤、各种常规螺丝刀、斜口钳、剥线钳、锤子、电络铁和带绝缘的梯子。当然,我们温馨建议安全帽、安全绳、绝缘鞋和防护眼镜有必要备齐,以防万一。
由于烟雾发生器可以通过现场人工启动、系统自动识别启动和远程复核启动等多种启动方式,在室内空间3秒钟释放大量无害的烟雾,让能见度为零来阻止犯罪行为的进一步扩大。为此,安装环境方面需要重视,首先肯定一点必须是安装在室内,要是在室外就是神仙也喷射不出让公共区域都能见度为零的烟雾来。由于烟雾发生器的在事中干预阶段的重要性,所以产品运行的稳定性尤为关键,在安装时其载体必须坚固牢靠,可以承受烟雾器的重量和承受一定量的外来撞击,同时,保障稳定性必须有24小时不切断的电源供电。在条件允许下,建议最好安装产品的周边有足够的空间,方便维修和操作。

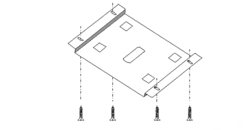
来到正儿八经的安装环节了,我们的产品底板部分有安装支架,用螺丝固定。

接下来,将烟雾器卡入底板,用力推入插槽。
![]YB@P{9[5N709_M`7]MWG(F.png 如何安装烟雾发生器](https://www.anfang.cn/wp-content/themes/justnews/themer/assets/images/lazy.png)
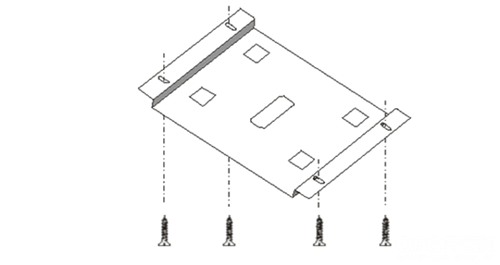
将烟雾器卡入底板,用力推入插槽。

最后将烟雾器的控制线与控制器的端子进行连接,完成这一步就搞定了。
富尼泰克的烟雾发生器,不仅仅功能远超欧美,性价比高,而且安装简单,维护便捷。
该文观点仅代表作者,本站仅提供信息存储空间服务,转载请注明出处。若需了解详细的安防行业方案,或有其它建议反馈,欢迎联系我们。
