电能表作为电力系统中非常重要的一个部分,主要是对电路中消耗的电能量进行测量。随着时代的发展和社会经济的进步,电能表发展到如今也经过了漫长的一个过程。
电能表在世界上的出现和发展已有一百多年的历史,最早的电能表是1881年根据电解原理制成的,尽管这种电能表每只重达几十公斤,十分笨重,又无精度的保证,但是,当时仍然被作为科技界的一项重大发明受到人们的重视和赞扬,并很快地在工程上采用了它,随着科学技术的发展,1888年,交流电的发现和应用,感应式电能表诞生了。
80-90年代就开始了对长寿命电能表、机电一体化电能表(半电子式电能表)、全电子式电能表、多功能全电子式电能表、预付费电能表、复费率电能表、最大需量表、损耗电能表等开始使用。
90年代一些电子式电能表相继问世,使电能表的发展又向前推进一步。电子式电能表的优点是体积小、重量轻、灵敏度高、精度高、便于校验、安装,并且过载能力强,有脉冲信号输出,这为实现自动化抄表提供了有利条件。
2000年开始,开始大力发展智能电能表,智能电表是一种新型全电子式电能表,具有电能计量、信息存储及处理、实时监测、自动控制、信息交互等功能,支持双向计量、阶梯电价、分时电价、峰谷电价等实际需要,也是实现分布式电源计量、双向互动服务、智能家居、智能小区的技术基础。它还能对居民用电负荷情况自动示警,避免超负荷导致的短路及火灾等严重事故。另外,居民可以使用充值卡或网上充值两种方式缴纳电费,方便快捷。
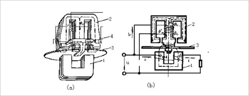
感应式电表工作原理
感应式单相电能表又称机械式单相电能表,它是利用电磁感应原理设计的。当电度表接入被测电路后,被测电路电压U加在电压线圈上,在其铁芯中形成一个交变的磁通,这个磁通的一部分ΦU由回磁极穿过铝盘到回到电压线圈的铁芯中;同理,被测电路电流I通过电流线圈后,也要在电流线圈的U形铁芯中形成一个交变磁通Φi,这个磁通由U形成铁芯的一端由下至上穿过铝盘,然后又由上至下穿过铝盘回到U形铁芯的另一端。电度表的电路和磁路如图6-3所示,其中回磁板4是由钢板冲制而成的,它的下端伸入铝盘下部,与隔着铝盘和电压部件的铁芯柱相对应,以便构成电压线圈工作磁通的回路。

(a)铁芯结构 (b)电路和磁路
由于穿过铝盘的两个磁通是交流磁通,而且是在不同位置穿过铝盘,因此就在各自穿 图4 铝盘上的磁通和涡流过铝盘的位置附近产生感应涡流,如图所示,这两个磁通与这些涡流的相互作用,便在铝盘上产生推动铝盘转动的转动力矩。
作用于铝盘的转动力矩MP与被测电路的有功功率成正比。当铝盘在转动力矩的作用下开始转动时,切割穿过它的yong久磁铁的磁通Φf,将在其上产生一个涡流if。这个涡流与yong久磁铁的相互作用,将产生一个作用于铝盘与其转动方向相反的力矩Mf,称为制动力矩。显然,铝盘转动越快,切割穿过它的磁力线就越快,所引起的磁通变化率就越大,产生的涡流越大,则制动力矩就越大,当铝盘不动时,制动力矩不存在。制动力矩是随铝盘的转动而产生的,并随转速增大而增大,其方向总是和铝盘的,转动方向相反。
当铝盘在转动力矩的作用下开始转动后,随着转速的增加,其制动力矩不断增加,直到制动力矩与转动力矩相平衡。此时,作用于铝盘的总力矩为零,铝盘的转速不再增加,而是稳定在一定的转速下。
智能电表
智能电能表是由测量单元、数据处理单元、通信单元等组成,具有电能量计量、数据处理、实时监测、自动控制、信息交互等功能的电能表。智能电表通过用户交费对智能IC卡充值并输入电表中,电表才能供电,表中电量用完后自动拉闸断电,从而有效地解决上门抄表和收电费难的问题。并对用户的购电信息实行微机管理,方便进行查询、统计、收费及打印票据等。
智能电表较普通机械式电能表有着计量更精准、智能扣费、电价查询、电量记忆、余额报警、信息远程传送的优势。
智能电表的分类
目前,国内的智能电能表主要分为两种:一种是机电一体式的,一种是全电子式的。
机电一体式
机电一体式,就是在原来机械电度表上附加一定部件,使得它既能完成所需的功能,又能降低造价且易于安装,一般而言其设计方案是在不破坏现行计量表原有的物理结构,不改变其国家计量标准的基础上加装传感器装置变成在机械计度的同时也有电脉冲输出的智能电表。
第一类机电结合的电度表,是在原有的机械表的基础上,加装电子式计数装置和相应的控制、通讯电路,或加上IC卡读写接口以实现自动计量计费和控制;其基本结构是在原有机械电度表的转盘上打孔或涂(贴)上能吸收光线的材料,通过光电转换,将机械转盘的转动变换成电脉冲信号,再进行相应的计数处理。这类电度表由于其计量原理没有改动,其计量精度和特性与机械表完全一样,而本钱相对较高。
另一类机电结合的电度表则是采用电子式计量电路在获得数字式脉冲信号后,通过微型电机驱动字码转轮得到电能计数值,这种结构是最简洁可行的电子式电度表的方案,但遗憾的是其对计量电路的要求较高,即要求所有的表都按一个固定的比例将电能值转换为对应数目的数字脉冲,才能按正确的速度驱动微电机以转动字轮。这个比例就是所谓的电表常数(imp/kWh),由于电路中所用的决定脉冲速度的定时元件大都是参数离散性较大的阻容元件,为了保证电度表的计量精度和产品的一致性,就必须在生产过程中加强对元件的筛选和对半成品的调校,也就是说要增加相应的人力物力的投进并要延永生产周期,从而使电度表的生产用度和本钱有所增加。另外这种结构的电度表在数据收集和用户缴费方式上与老式的机械表没什么区别,应属淘汰产品。
全电子式智能电表
全电子式的智能电表则从计量到数据处理都采用以集成电路为核心的电子器件,从而取消了机械部件。全电子式的智能电表比机电一体化的智能电表体积更小,可靠性更高,更加精确,耗电量也更加小,生产工艺大大改善。全电子式的智能电表将会逐步取代带有机械部件的计量表,这是未来社会发展的大势所趋。
全电子式电度表系统组成:
1、远传表。具有脉冲输出的水表、电表、气表、热表等计量表为远传表,其计量方式与传统表一样,不同的是在原基表上增加了脉冲输出功能,每个脉冲代表一定的计量值。采集器通过远传表脉冲输出端口采集脉冲。
2、采集器。采集器能同时采集水表、电表、气表、热表等输出的脉冲信息,并将这些脉冲信息转换成计量认可的物理量,存储在各采集器的存储器中,通过治理微机,可以查询系统中任意一户的耗能信息,并在治理微机的抄表等命令下将用户信息上传。
3、转换器。转换器的主要任务为:完成与采集器的数据通讯工作,向采集器下达电量数据冻结命令,定时循环接收采集器的电量数据或根据系统要求接收某个电表或某组电表的数据。根据系统要求完成与主站的通讯,将用户用电数据等主站需要的信息传送到主站数据库中。下行通道指的是转换器与采集器之间的通讯线路,主要有总线抄表系统、载波抄表系统和红外抄表系统等三种方式。通讯信道上行通道指的是转换器与主站之间的通讯线路,可以采用dian话、无线、专线等通讯介质。
4、系统治理软件功能。系统治理软件以通讯为基础,以数据库为核心,提供数据处理、查询、统计、报表、备份等功能;采用面向对象和模块化相结合的方法,灵活支持不同客户的要求,如特殊格式报表,权限控制等;持客户原有的治理系统,可与其它治理软件接口,提供数据接口和通讯接口,具有网络通讯功能;可同时治理多个小区,对各小区设置通讯参数;电表治理,设置电表的原始参数、地址、及其状态;费率治理,可任意设置多种费率,设置各能源的单价;用户治理,治理和控制每户的用量,治理用户的结算方式;实时抄表功能,系统可抄取各能源表的实时数据;用度自动计算,实现将公共能源损耗均匀分摊或按比例分摊到每户并根据查表数据和单价,自动计算每产应交用度,以便向用户收费;打印功能,打印各用户用度清单;查询功能,可随时查询任一户、任一单元全部住户及整个小区内所有住户的耗能信息。
智能电表的工作原理
下图是一个智能电表的原理框图:

下图是一个硬件设计图:

智能电表主要是由电子元器件构成,其工作原理是通过对用户供电电压和电流的实时采样,采用专用的电能表集成电路,对采样电压和电流信号进行处理,转换成与电能成正比的脉冲输出,最后通过单片机进行处理、控制,把脉冲显示为用电量并输出。通常把智能电表计量一度电时A/D转换器所发出的脉冲个数称之为脉冲常数,对于智能电能表来说,这是一个重要的常数,因为A/D转换器在单位时间内所发出脉冲个数的多少,将直接决定着该表计量的准确度。
目前智能电表大多数采用一户一个A/D转换器的设计原则,但也有些厂家生产的多用户集中式智能电表采用多户公用一个A/D转换器,这样对电能的计量只能采用分时排队进行,会造成计量准确度的下降。
智能电表的采样方式
当前电子式电能表对用户用电采样方式主要有两种形式,一种是用互感器采样,一种是直接采样。
采用互感器采样是用电压互感器和电流互感器分别采集用户的电压信号和电流信号;而直接采样是用热稳定性高的电阻分压网络来取得电压信号,用电阻温度系数小的锰铜片进行电流直接采样。
采用互感器采样,在启动电流、线性范围、功耗和精度等方面都不如直接采样,尤其是当电流值很小的时候。互感器采样的优点是抗干扰性较强,线路简单,成本比较低。例如,当额定电流为20A的时候,直接采样的启动电流为20mA,互感器采样的启动电流为40mA。又比如,采用专用的锰铜片经行直接电流采样的全电子电能表误差可调整到+0.5%,而采用电流互感器采样,若不采取补偿措施,互感器本身误差可能超过5%。
智能电表的抄表方案
电度表作为电费收取的计量依据,涉及到抄表,从现行技术来看主要有IC卡式,远传抄表式。
IC卡电表收费系统的本钱较低、可靠性高、使用寿命长。IC卡是用硅片(EEPROM)来存储信息的,一张IC卡至少也可以使用10年以上。IC卡电表收费系统安全性高,不易仿制,收费正确,不易出错。它具有很强的加密性。采用IC卡电表收费系统可进步居民用电收费的治理水平,确保电力部分能及时收到电费(用户不继续买电,将被断电)。IC卡表的系统功能包括预收费功能,报警功能,断电功能,显示功能和加密功能。
IC卡表的整个收费系统包括主机,IC卡电表和IC卡三部分。IC卡电表收费系统,实现了用电收费电子化,技术成熟可靠。所以,IC卡收费系统在我国得到了较大范围的推广。但是,从系统的角度来看,由于用户终端与系统主机并没有直接lian系,只有在用户持卡交费时才能了解到用户情况,信息反馈滞后,可以讲,用户终端仍然与整个网络脱节。从经济角度来看电力部分先收费后送电不符合经济政策,可以说在一定程序上侵犯了用户的利益,所以现在有很多城市已经原则上不再审批新的IC卡表项目,从长远来看,IC卡收费系统只能作为一种过渡性产品。
远程自动抄表系统实现用电数据的自动抄收,可杜尽人工操纵的一切弊端。用户的用电数据可直接进进用电营业的计算机治理系统,用电治理职员可随时监视用电情况,发现题目(如故障、窃电等)及时处理。线损情况直接影响着供电部分的经济效益,以前不管人工抄读还是IC卡表都无法正确计量线损情况,找到线损原因也很困难,而采用远传抄表后可以几乎同时取得总表读数和分表总读数,随时把握线损情况,并较轻易地分析线损原因以便加以处理。随着形势的发展,居民在银行开设个人账户,营业计算机治理系统与银行联网,完成数据的自动抄收、处理、银行转账交费等全套操纵,可真正实现用电治理的自动化。现在国内的远传抄表系统主要有485总线和载波抄表两种形式,载波集抄系统是利用专用芯片对用电数据进行调制解调,通过电力线进行通讯以实现集中抄表。485总线方式的数据传输可靠性高,且造价较低,缺点是需布线,安装较复杂,另外拉线易被人为破坏,特别是现在很多小区不答应拉明线,使这种总线方式难于施工。现在采用较多的方案是用户终端到数据集中器采用电力线载波通讯,数据集中器到上位机用专用dian话线。当然,根据小区的不同情况,也有很多采取485总线与电力载波配合使用的方案。
由于全电子式智能电表的用电量数据已经数字化,可以很方便地与各种数据收集传送电路配合组成自动计量计费地系统,是现行家用电度表地换代产品,该类产品的大量使用将节省供电部门大量的抄表计算工作,并能及时回收电费,即先付费后用电,具有巨大的经济效益和社会效益。这样的智能电表有两种常见的抄表方案:总线制集中抄表和电力载波集中抄表。都是远程抄表。
总线制集中抄表:电表部分采用智能电表,各户智能电表信号线并接在一根总线上,总线连接到楼下转接器,各楼转接器与小区的集中器相连,由集中器集中供电。
电力载波抄表:直接利用现有低压输电线路进行数据传输的集中抄表系统,省去了铺线工程,优势明显。
该系统是集微电子技术、通讯技术和计算机技术于一体的高新产品,具有高可靠且安装简单等显著特点,广泛适用于城市及农村的电表、气表抄收、计费和监控。但由于电力线是给用电设备传送电能的,而不是用来传送数据的,所以电力线对数据传输有许多限制:(1)配电变压器对电力载波信号有阻隔作用,所以电力载波信号只能在一个配电变压器区域范围内传送;(2)不同信号耦合方式对电力载波信号损失不同;(3)电力线存在本身固有的脉冲干扰。另外电力线上的高削减、高噪声、高变形,使电力线成为一个不理想的通信媒介,但由于现代通信技术的发展,使电力线载波通信成为可能,其中数据信号的信噪比决定传输距离的远近。电力线载波通信的关键就是选用一个功能强大的电力线载波专用Modem芯片。
智能电表的工作特点
智能电表不只采用了电子集成电路的设计,再加上具有远传通信功能,可以与电脑联网并采用软件进行控制,因此与感应式电表相比,智能电表不管在性能还是操作功能上都具有很大的优势。
1、功耗:由于智能电表采用电子元件设计方式,因此一般每块表的功耗仅有0・6w~0・7w左右,对于多用户集中式的智能电表,其平均到每户的功率则更小。而一般每只感应式电表的功耗为1・7w左右。
2、精度:就表的误差范围而言,2・0级电子式电能表在5%~400%标定电流范围内测量的误差为±2%,而且目前普遍应用的都是精确等级为 1・0 级,误差更小。感应式电表的误差范围则为+0・86%~-5・7%,而且由于机械磨损这种无法克服的缺陷,导致感应式电能表越走越慢,最终误差越来越大。国家电网曾对感应式电表进行抽查,结果发现50%以上的感应式电表在用了5年以后,其误差就超过了允许的范围。
3、过载、工频范围:智能电表的过载倍数一般能达到6~8倍,有较宽的量程。目前8~10倍率的表成正为越来越多用户的选择,有的甚至可以达到20倍率的宽量程。工作频率也较宽,在40HZ~1000HZ范围。而感应式电表的过载倍数一般仅为4倍,且工作频率范围仅为45~55HZ之间。
4、功能:智能电表由于采用了电子表技术,可以通过相关的通信协议与计算机进行联网,通过编程软件实现对硬件的控制管理。因此智能电表不仅有体积小的特点,还具有了远传控制、复费率、识别恶性负载、反窃电、预付费用电等功能,而且可以通过对控制软件中不同参数的修改,来满足对控制功能的不同要求,而这些功能对于传统的感应式电表来说都是很难或不可能实现的。
该文观点仅代表作者,本站仅提供信息存储空间服务,转载请注明出处。若需了解详细的安防行业方案,或有其它建议反馈,欢迎联系我们。
