【安防在线 www.anfang.cn】
如果我们拥有透视眼,您将平均在每辆汽车上发现6颗印有“Melexis”Logo的ICs!当今,几乎全球范围内所有的汽车品牌都在依靠Melexis(迈来芯)的芯片来保证安全,高效和舒适地运送乘客和货物。不过,我们今天的主角――MLX90130/32――13.56MHz RFID/NFC收发器――除了能用在汽车上,他还会出现在我们生活的方方面面,如安防领域的门禁系统,医疗电子中用于监测葡萄糖,在手机上用于NFC近场通讯……
迈来芯不仅仅在汽车行业,更在许多其他领域赢得商机。射频和射频识别元件的技术开发,帮助迈来芯的客户准时实现既经济又有持续利润的产品开发目标。早在 2000 年,迈来芯就已推出各类传感器标签。2007年,迈来芯推出了MLX12115,它是迈来芯知名的 RFID 高频收发器 IC 系列的成功开拓者。而在2009年,迈来芯的13.56MHz RFID收发器家族又增添了用途广泛的 MLX90129 传感器标签。MLX90129及MLX90130/ MLX90132是目前迈来芯13.56MHz RFID收发器系列中最主要的三款产品。
MLX90129取得广泛应用
在深入了解MLX90130/MLX90132之前,我们有必要回顾一下他的前辈――MLX90129。MLX90129具有独特而强大的被动传感功能,内置一个温度传感器、两个精确的差分输入端口连接传感器,适应各类型传感器,更细节的配置,以提高校准精度,并配备一个ISO15693标准的高频RFID接口。
在有源数据记录模式,MLX90129的特性在于体积小、热质量低、可与传感器密封包装、配置无线和数据传输、可透过SPI接口扩充内存,并能够外接两个不同类型的传感器,其中包括快速反应的温度探头。
早在2010年,MLX90129就在冷链监控中得到成功应用。这一成功的案例来自Proxima RF Technology和Phase IV Engineering两家公司的携手合作,他们采用具备高频RFID功能的迈来芯MLX90129芯片为严苛并高湿度的工作环境x制无线传感方案。
含有高水份的物质如食品,最适宜使用高频RFID;高频RFID应用于冷链行业中的高水份物质较适宜,其他RFID频率应用于医疗保健也不太理想。这种RFID阅读器和传感组件必须以Melexis芯片透过精确的命令集通讯并把传感器的数据解码。
当MLX90129最开始进入到冷链监控市场时,便得到很好的成绩。而在冷链监控市场之外, 将MLX90129应用于感应密封空间内的移动部件以及嵌入物料内的传感器,表现也都很理想。
MLX90130/MLX90132进一步提升了性能
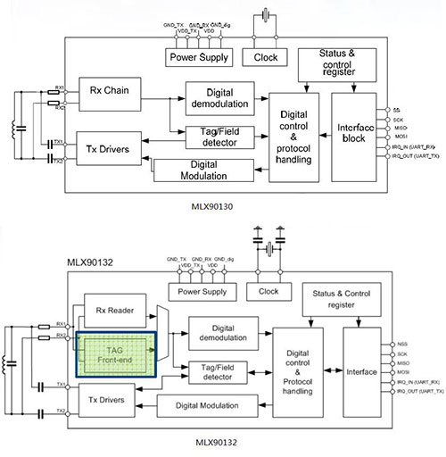
得益于MLX90129在市场上取得的巨大成功,迈来芯公司继而推出了功能更加完善的MLX90130/32,他们是13.56MHz全集成的多协议RFID/NFC收发器,可处理子载波频率从106kHz到848kHz,传输速率高达848kbit / s。下图1所示为MLX90130/2的功能框图。
图1. MLX90130/2功能框图
该文观点仅代表作者,本站仅提供信息存储空间服务,转载请注明出处。若需了解详细的安防行业方案,或有其它建议反馈,欢迎联系我们。
